クロロプレンゴム テープ付き 穴あけ加工 図面がなくても承ります!
目次
ようこそゴムシート.comブログへ。専門知識がなくても大丈夫、楽しくわかりやすくゴムの魅力を紹介していきます!
何度もご紹介しているかもしれませんが、私たちの得意とする加工事例です。
厚さ10mmまでのゴム加工(穴あけなど)が得意です
私たちにご依頼いただくご注文のほとんどは幅をカットせずにご指定の長さでカットする「切り売り」です。業界では「幅なり」などといいます。「幅なり」=幅そのままでカットしますので、例えば、規格幅1000mmですと余尺があったり直線ではなく波打っていたりなど様々なのです。
今日の記事のような加工は機械で幅も長さもカットしますので基本的にはご指定通りの寸法に近い仕上がりになります。ご指定通りの寸法にでない理由として、ゴムの伸縮性が挙げられます。極端なことを言いますとカットした直後と翌日にお届けした寸法では異なることも有り得ます。とはいいましても、私たちの経験で寸法が大きく異なることの内容に工夫をしますし、万が一そのようなことがあっても検品時に製品として扱わないようにしていますので、ほぼ問題ない範囲内で収まっているのが実情です。
私たちは主に厚さ10mmまでの在庫を豊富に持っております。機械の能力も厚さ10mmくらいまでなら問題なく加工できます。そのため、厚さ10mmまでの加工でしたら短納期または1枚からのご依頼でも柔軟に対応できますし、得意としています。
▽下の写真は厚さ2mmのゴムシートに両面テープを貼りつけて加工しています。
▽詳細な寸法は書けませんが、このような加工ができます。(1枚からでもOKです!)
▽同じ加工品ですが、角度を変えることでゴムの厚さが分かりやすいですね。
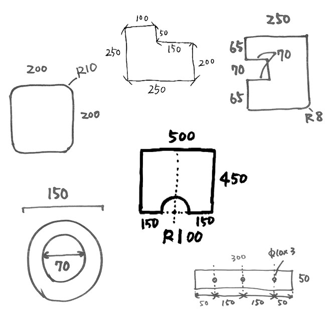
図面がなくても大丈夫です!
きちんとした図面がないことも多いと思います。その場合は手書きで形状と寸法を書いていただけましたらお見積りをさせていただきます。例えば、縦と横の長さと穴の大きさと位置を手書きしていただいてスマホで撮影していただいた写真があればお見積り可能です。
例えば、下記のような手書きの図で全く問題ございません。
ゴム加工は試作の1枚からでも承ります
抜型を使いませんので1枚の試作でも比較的安価に加工可能です。それが試作ではなくて、1枚で完結するようなお仕事でも大歓迎です。オーディオ機器の脚につける滑り止めゴムとして4コだけ、自動車のパーツとして1コだけなど、このようなご依頼もたくさんいただいておりますので、お気軽にお問合せください。
お問い合わせはこちら
https://gom-sheet.com/order/
どうしても敷居が高いと思われがちな「特注」ですが、私たちは個人の方のご依頼もたくさんいただいておりますので、「ゴムのことが全く分からない」「ゴム製品を発注するのが初めて」などのお問い合わせにも分かりやすく丁寧に回答することを心がけております。
お気軽にご相談くださいね。
著者 長谷川拓也(ハセガワタクヤ)
ゴムシート.comを運営する株式会社エーフロンティアの代表取締役。 2009年からゴムシート一筋で、切断、切削はもちろんのこと、ゴム製品の新しい用途提案なども行っている。単に材質としての「ゴム」を販売するのではなく、柔軟な提案でお客様の課題解決のサポートをするため、現場にこだわり続けてきました。創業以来、変わらないのは「分かりやすさ」という想いです。現場での気づきを、プロの視点から分かりやすくお伝えすることで、「何を選べばいいか分からない」「どのように依頼して良いか分からない」というお客様のご不安を、このブログを通じて安心に変えるお手伝いをしたいです。







































































